华立学院创新3D打印预处理技术获专利,推动行业质量突破
2026年1月,广州华立学院杨向东科研团队在增材制造(3D打印)前处理工艺领域取得重要技术突破。团队成功研发出一种创新的“用于增材制造中颗粒熔融成型工艺送料方法”,并获得国家发明专利授权(专利号:CN120516948B)。该方法通过多传感器反馈与智能协同送风控制,在打印前高效去除塑料颗粒表面的油分与水分,从根本上解决了因杂质导致的喷头堵塞、层间结合力弱、制品产生气泡等行业共性难题。这标志着广州华立学院在先进制造工艺与智能化前处理装备研发方面取得了又一标志性成果。
在工业级颗粒熔融3D打印中,原材料颗粒表面附着的油污(脱模剂等)和水分是影响最终零件质量的“隐形杀手”。传统工艺往往忽视或简单处理此环节,导致打印过程中油分阻碍材料融合,水分汽化形成孔隙,严重影响了制件(尤其是航空航天、医疗器械领域所用的PEEK等高性能材料)的力学强度、尺寸精度与长期可靠性。
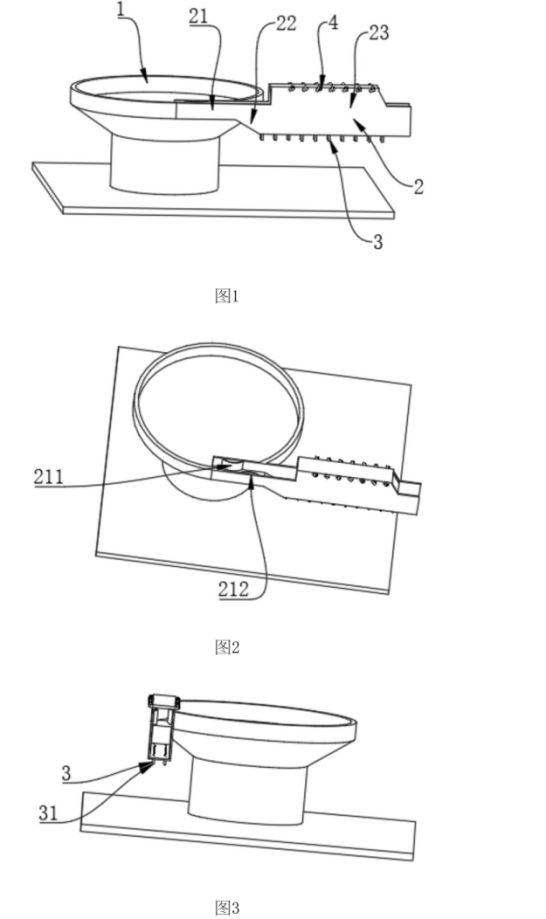
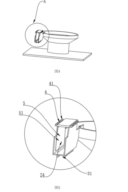
面对这一长期存在的工艺瓶颈,广州华立学院研发团队创新性地将材料预处理环节深度集成并智能化。该方法的核心在于构建一套 “感知-决策-执行”闭环控制系统。
技术核心创新体现在:首先,系统集成微波加热板、多路智能送风及高精度传感器。微波能快速均匀加热颗粒,降低油脂黏度并使水分蒸发;同时,底部送风机构与顶部倾斜布置的螺旋辅助送风机构,构成复合气流场。其次,系统首创了多变量协同智能控制算法。实时监测颗粒温度、含水量、含油量,并依据预设目标,动态调节加热功率与复合风场风速风向。算法能智能判断当前主要矛盾是“油多”还是“水多”,优先调节相应风场参数,并通过计算水平与竖直方向的“协同风速”,确保气流以最佳角度和力度剥离杂质,实现除油除水效率最大化。
该技术从根本上改变了传统粗糙预处理或忽视预处理的现状。实验表明,经该工艺处理后的颗粒材料,其打印过程中的喷头堵塞率显著降低,打印连续性得到保障;更关键的是,材料层间结合强度获得有效提升,制品内部孔隙与缺陷减少,从而大幅提高了最终零件的力学性能与一致性。
此项专利技术是广州华立学院面向智能制造与新材料应用前沿,持续推动关键技术研发的生动体现。它不仅展示了学校在精密机械设计、智能控制算法与材料工艺跨学科融合方面的强大实力,也为我国增材制造产业向更高精度、更可靠生产迈进提供了核心工艺支撑。

用户登录